1.仪器设备
电热鼓风恒温干燥箱;电子天平:称量210g,感量0.001g;铝盒等。
2.试验步骤
(1)称量铝盒重量m0,并记录下盒的编号。
(2)取代表性土样15~30g,放入铝盒内,立即盖好盒盖,放天平上称量湿土与盒重m0+m,准确至0.001g。
(3)揭开盒盖,套在盒底,放入烘箱,在温度105~110℃下烘至质量恒定。烘干时间对粘性土不得少于8小时,对砂性土不得少于6小时,对含有机质超过干土质量5%土,应将温度控制在65~70℃的恒温下烘至恒重。然后将铝盒取出放在干燥器内冷却至室温。
(4)从干燥器内取出土样,盖好盖后。称盒加干土重m0+ms,准确至0.01g。
1.仪器设备
环刀(如下图所示,其内径61.8mm或79.8mm,高度20mm,本试验采用内径61.8mm);电子天平:称量210 g,感量0.001g;修土刀,刮刀,凡士林油等。

图1-1 环刀示意图
2.操作步骤
(1)用电子天平称量出环刀的质量m0;
(2)按工程需要取原状土或制备所需状态的扰动土样。土样的直径和高度应大于环刀,整平其两端放在玻璃板光面上。
(3)将环刀内壁擦净,并涂抹一薄层凡士林,刃口向下放在土样上,将环刀垂直下压,并用切土刀沿环刀外侧切削土样,边压边削至土样高出环刀,根据试样的软硬采用钢丝锯或切土刀整平环刀两端土样。
(4)擦净环刀外壁,称环刀和土的总质量m0+m,精度达0.01g。本试验需进行二次平行试验,取二次结果的平均值。平行试验结果之差不得大于0.03g/cm3。
(5)按下式计算土的密度:
式中,m0是环刀的质量;m0+m是环刀加土的质量;V是环刀的体积。
一、试验目的:
颗粒分析试验就是测定土中各种粒组所占该土总质量的百分数的试验方法。
二、试验方法:
颗粒分析试验可分为筛析法和密度计法和移液管法等。对于粒径大于0.075mm的土粒可用筛分析的方法来测定,而对于粒径小于0.075mm的土粒则用密度计法或移液管法来测定。
三、仪器设备
(1)标准筛两套:粗筛:孔径为60,40,20,10,5,2mm;细筛,孔径为2,1,0.5,0.25,0.075mm。
(2)摇筛机;
(3)分析天平::称量5000g,最小分度值1g,称量l000g,最小分度值0.lg,称量200g,最小分度值0. 01g.;
(4)研体、碾杆、烘箱、毛刷等。
一、试验目的:
测定细粒土的界限含水率,是指土从一种状态转到另一种状态的分界含水率称为界限含水率。
二、试验方法:
液限是区分粘性土可塑状态和流动状态的界限含水率,测定土的液限主要有圆锥仪法、碟式仪法等试验方法,也可采用液塑限联合测定法测定土的液限。
三、仪器设备
(1)光电式液塑限联合测定仪。(见图3—1)其主要组成部分如下:①圆锥仪:锥体总质量为76g±0.2g,圆锥用不锈金属材料精加工而成,锥角为30°±0.2°,微分尺量程为22mm 刻线距离为0.1mm。②电磁铁部分:要求磁铁吸力大于100g(1牛顿)。 ③光学投影放大部分:要求放大10倍,成像清晰。④升降座:落锥后5秒的显示、试样杯等。

图3-1光电式液塑限联合测定仪
(2)天平:电子天平,感量0.001克。
(3)其它:烘箱、铝盒、调土刀、调土碗等。
一、试验目的:
击实试验的目的就是测定试样在一定击实次数下或某种压实功能下的含水率与干密度之间的关系,从而确定土的最大干密度和最优含水率,为施工控制填土密度提供设计依据。
二、试验方法:
(1)轻型击实试验:适用于粒径小于 5mm 的粘性土。
(2)重型击实试验:适用于粒径不大于 20mm 的土。
本试验介绍轻型击实试验。
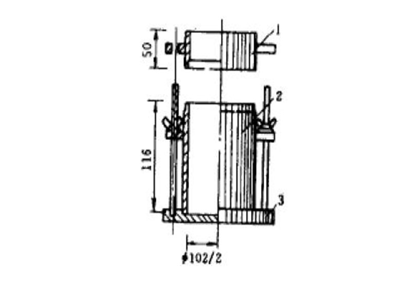
三、仪器设备
(1)轻型击实仪(见图4—1):锤底直径 51mm;锤重 2.5kg;落距 305mm;内径为 102mm,筒高为 116mm,容积为 947.4cm3。

(1—套筒;2 —击实筒;3—底板)
图4-1 轻型击实仪
(2)分折天平:称量 200g,最小分度值 0.01g;
(3)台称:称量 10kg,最小分度值 5g;
(4)筛:孔径5mm;
(5)其它:喷雾器、盛土容器、修土刀及碎土设备等。
一、试验目的:
本试验的目的是测定试样在侧限与轴向排水条件下,变形和压力或孔隙比和压力的关系,绘制压缩曲线和固结曲线,以便计算土的压缩系数a、压缩模量Es和固结系数Cv,估算渗透和控制建筑物沉降量。
二、试验方法
标准固结(压缩)试验和应变控制连续加荷固结试验
三、仪器设备
(1)WG型单杠杆固结仪,如图5-1(a)所示。

(a) (b)
图5-1 WG型单杠杆固结仪
单杠杆固结仪包括压缩容器及加压设备两部分,如图5-1(b)所示。切取试样用环刀30cm2× 2cm(高度),壁应经常保持较高的光洁度,以减小摩擦的影响。该仪器的固结压力满足12.5kPa、25kPa、50kPa、100kPa、200kPa、400kPa等各级荷载加压的要求,其杠杆比为1:12。仪器上的测微表最大量程10mm,精度达0.01mm。
(2)电子天平:210g,感量0.001g。
(3)其它:秒表、电热鼓风恒温干燥箱、修土刀等。
一、试验目的:
测定土的抗剪强度指标和c,土的抗剪强度是指土体对于外荷载所产生的剪应力的极限抵抗能力。
二、试验方法:
根据实际情况选用快剪、固结快剪、慢剪三种方法。快剪试验是指在试样上施加垂直压力后立即快速施加水平剪应力。固结快剪试验指在试样上施加垂直压力,待试样排水固结稳定后,快速施加水平剪应力。慢剪试验指在试样上施加垂直压力及水平剪应力的过程中,均使试样排水固结。
三、试验仪器
(1)ZJ应变控制直剪仪,如图6-1所示。
它的主要特点是用转动手轮使传力杆向前移动而推动底座施力给下盒剪切力(水平力),剪力的数值是利用量力环测出(测力环是一个钢环.事先已知每单位变形值所表示的应力数值.故在试验时用测微计量得测力环径向变形数值即可算出所受的应力值)。本仪器对粘性土和砂性土均适用。其主要构件包括
a.剪切盒
剪切盒分上下两盒(附一个传压盖及两个透水石人上盒一端顶在量力环的一端,下盒与底座连接,底座放在两条轨道滚珠上,可以移动。
b.加力及量测设备
垂直荷重:通过杠杆比(1:12)放砝码来施加。水平荷重:通过旋转手轮推进螺杆顶压下盒来施加,荷重大小,从量力环的变形间接求出。

图6-1 应变式直剪仪
(2)环刀(截面积为30cm2);
(3)其它:百分表、秒表、电子天平(感量0.001g)、电热鼓风恒温干燥箱、修土刀、推土器等。